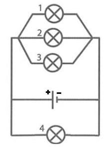
Soru 1: Aşağıdaki şekilde ampuller özdeştir, ampullerin parlaklıklarını karşılaştırınız?
Ampullerin parlaklığı üzerinden geçen akım miktarıyla doğru orantılıdır. Bu nedenle ana kol üzerinde bulunan 3 numaralı ampul en parlak yanar. 1 ve 2. ampuller ise özdeş oldukları için eşit akım geçeceği için aynı parlaklıkta ancak az parlaktır.
Ampullerin parlaklıkları 3 > 2 = 1 şeklindedir.
Soru 2: Aşağıdaki şekle göre soruları cevaplayınız. a- N anahtarları kapalı olması durumunda hangi ampuller ışık verir? b- N ve M anahtarları kapatıldığında hangi ampuller ışık verir? c- N, M ve L anahtarları kapatıldığında hangi ampuller ışık verir? d- K, L, M ve N anahtarları kapatıldığında hangi ampuller ışık verir?
a- N anahtarı kapalı olduğunda ana koldan akım geçecektir. Sadece 1 ampulü ışık verir.
b- N ve M anahtarları kapatıldığında 1 ve 4 ampulleri ışık verir.
c- N, M ve L anahtarları kapatıldığında 1, 2, 3 ve 4 ampulleri ışık verir.
d- K, L, M ve N anahtarları kapatıldığında K anahtarında kısa devre oluşur. Devrede kısa devre olduğu için hiçbir ampul ışık vermez.
Soru 3: Aşağıdaki şekilde K, M, N ampullerinin ışık vermesi için hangi anahtarlar kapatılmalıdır?
T anahtarı ana kol üzerinde olduğu için kapatılmalıdır. M ampulünün yanması için de Y anahtarı kapatılmalıdır. X anahtarının kapatılmasına gerek yoktur.
Kapatılması gereken anahtarlar T ve Y anahtarlarıdır.
Soru 4: Aşağıdaki şekilde A, B, C ve D ampullerinin parlaklıklarını karşılaştırınız? (Ampuller özdeştir.)
Ampullerin parlaklığı üzerinden geçen akım miktarı ile doğru orantılıdır.
D ampulü ile A, B ve C ampulleri birbirine paraleldir. A B C ampullerinin bulunduğu tarafta direnç daha fazla olacaktır. Bu nedenle D ampulünün parlaklığı diğerlerinden fazla olacaktır.
A üzerinden geçen akım B ve C kollarına ayrılmaktadır. Bu nedenle A nın parlaklığı B ve C den fazladır.
B ve C üzerinden geçen akım miktarı eşit olduğu için parlaklıkları da eşit olacaktır.
D > A > B = C olur.
Soru 5: Şekildeki elektrik devresinde voltmetre ve ampermetrenin bağlanma şekilleri nasıldır.
Devrede ampermetre seri olarak bağlanmıştır. Devre üzerinden geçen akın ampermetre üzerinden geçer. Devreye doğru bağlanmıştır.
Voltmetre ise ampule paralel bağlanmıştır. Bunun da bağlanma şekli doğrudur.
Soru 6: Aşağıdaki şekilde 1, 2, 3 ve 4 nolu ampullerinin parlaklıklarını karşılaştırınız? (Ampuller özdeştir.)
1 ve 4 nolu ampuller ana kol üzerinde oldukları için parlaklıkları eşittir. 2 ve 3 nolu ampullerde akım ikiye bölündüğü için parlaklıkları azalmıştır. Aynı akım geçtiği için de parlaklıkları aynıdır. 1 = 4 > 2 = 3
Soru 7: Aşağıdaki şekilde 1, 2, 3, 4, 5 ve 6 ampullerinin parlaklıklarını karşılaştırınız? (Ampuller özdeştir.)
1 ana kol üzerinde olduğu için en fazla akım buradan geçer.
Ana koldan gelen akım 2 ve 3 ampullerinde paralel olarak ikiye ayrılmaktadır. Buradaki parlaklık birbirine eşit ancak 1 den az olacaktır.
2 ve 3 den gelen akım bir noktadan birleştikten sonra tekrar paralel olarak üç kola ayrılmaktadır.
4, 5 ve 6 birbirine paralel olduğu için parlaklıkları eşit ancak 1 ve 2 den az olacaktır.
Soru 8: Aşağıdaki şekilde 1, 2, 3 ve 4 ampullerinin parlaklıklarını karşılaştırınız? (Ampuller özdeştir.)
Devredeki her dört ampulde birbirine paraleldir. Bu nedenle ampullerin parlaklıkları birbirine eşittir.
Soru 9: Numaralandırılmış özdeş ampullerle kurulu şekildeki devrede K anahtarı açılıp, L anahtarı kapatıldığında aşağıdakilerden hangisi gerçekleşir? (SBS 2008)
A) 2 ve 3 nolu ampullerin parlaklıkları aynı kalır. B) Ana koldan geçen akım artar. C) 1 nolu ampulün parlaklığı artar. D) Devrenin eşdeğer direnci artar
Burada bulunan bütün ampuller paraleldir. K anahtarı açıldığında 1 nolu ampul yanmayacaktır. L anahtarı kapatıldığında ise 4 nolu ampul yanacaktır. 2 ve 3 nolu ampullerin parlaklıkları aynı kalır. Yanan ampul sayısı değişmeyeceği için ana koldan geçen akım değişmez. 1 nolu ampulün parlaklığı değişmez. Devrenin eşdeğer direnci de değişmez.
Doğru yanıt A şıkkı
Soru 10: Şekildeki elektrik devresinde X anahtarı kapatıldığında A ve B ampullerinin parlaklıkları nasıl değişir?
X anahtarı devrede kısa devre yapmaktadır. Kısa devre yapan ampuller yanmayacağı için her iki ampulde sönecektir.